手机扫描二维码即可观看教学案例视频



英国365上市公司啦啦操混合式教学模式
一、由传统的体育课堂向以学生为中心的“信息化+翻转”教学转变
啦啦操线上线下混合式教学模式将传统的教师为中心转变为以学生为中心教师为主导;由结果性评价向过程性评价和形成性评价转变;由“满堂灌”向启发式教学转变。传统教学和信息化教学相结合,将体育健康理论和啦啦操技术理论融入MOOC中,学生课前自学,课内翻转实践,有效解决了体育课理论教学不足的问题。
二、建设啦啦操MOOC,实行“健康知识+基本运动技能+专项运动技能”为目标的线上线下混合式教学模式。
1.课前,开展线上教学
教师提前录制教学视频,上传MOOC平台,课前发布自学任务,安排学生线上自学,同时进行实时在线交流、讨论,及时解决难点。

2.课中,以学生为中心实施课堂翻转教学
通过线上教学反馈的数据,本着“以学生为中心,以教师为主导”的原则,做好课堂教学的教学设计,在课堂教学中有的放矢,因材施教,采取多种教学方法组织和引导学生进行翻转教学。

3.课后,布置视频作业,组织校内比赛,丰富学生第二课堂
布置视频作业,学生课余时间自主练习并录制视频后,在学习通平台提交,教师线上批阅评价。课外组织比赛为学生体育技能展示提供了舞台,激发了学生对体育技能学习的热情。学生在比赛中,往往能发现自己体育技能的薄弱点和需求,反过来还会回到课堂和MOOC平台进行再学习再提高。





















花球啦啦操队形创编教案

课题内容 |
花球啦啦操队形创编 |
授课时间 |
第10周 |
专业班级 |
大二 |
授课教材 |
啦啦操运动 |
课时 |
2 |
授课类型 |
新授课 |
学生数 |
30 |
教学理念 |
本课程以学习啦啦操基本手位、全国校园啦啦操大学组花球组合动作、技巧啦啦操基本技术为主,使学生初步掌握啦啦操技术动作、舞蹈编排原则以及比赛和表演的基本知识。基于体育美育融合发展的理念,以学生为中心,通过课堂教学、校内体育活动及竞赛、社会实践将课内外有效融合,培养学生的音乐素养和表现形体美、姿态美的能力,让学生体会啦啦操特有的团队精神,激发锻炼的热情。有效提升学生的体质健康水平和审美素养。 |
学情分析 |
教学对象 |
本科生 |
学生特点 |
啦啦操是一项时尚运动,符合新时代大学生求新、求美的心里特征。针对大二本科生已经有一年大学体育课的经历,因此对课程的创新性和挑战度有所要求,在学会一套啦啦操基础组合动作后,需要完成课堂小组队形的创编和展示。进一步培养学生的团队协作能力和创新意识。 |
教学目标 |
1.认知目标:了解和掌握啦啦操基本手位、组合动作及基本技术技巧。 2.技能目标:让90%以上的学生掌握花球啦啦操基本技术和简单队形的跑位展示。 3.思政目标:培养学生的团队协作能力和创新意识,提升发现美和创造美的能力。 |
教学重点 |
1.队形的流动性编排。 2.准确的移动跑位。 |
教学难点 |
l音乐伴奏下的团队队形变化 |
教学方法 |
教法 |
以学生为中心,运用分组练习、现场展示录视频、视频回放对比分析和评价 |
学法 |
课前线上自主学习、课内翻转分组练习,课后参加表演、比赛 |
教学过程 |
环节 |
教学程序的设计 |
教师活动 |
学生活动 |
设计意图 |
课 前 学 习 |
上一节课结课前布置学习通平台教学视频学习任务; 解锁学习通本周任务课件 |
向学生发送课前任务单。 1.SPOC自学; 2.自制小组至少5次队形编排图画,并到课堂讨论。 |
1.利用手机平台接收任务并完成线上自学任务。 2.小组讨论并完成至少5次队形编排图画。 |
提升学生自主学习、探究式创新和团队协作能力。 |
导 课 部 分 热 身 活 动 基 本 部 分 基 本 部 分
基 本 部 分 结 束 部 分 |
课前观看视频 播放导课视频,开发学生队形编排的思路。 
视频作业分析(3分钟) 
|
播放视频,让学生观看,引导学生讨论对比自己小组的队形的优点和不足。 对课前上传学习通平台的优秀视频作业进行讲解分析 |
观看视频,小组讨论,优化小组队形编排,提升流动性和美观性。 观看视频,小组讨论,规范技术动作。 |
提升发现美和创造美的能力。 激发学生的课余时间锻炼的积极性,提交作业的自觉性。 |
热身运动(5分钟) 
小组队形编排演示(2分钟) 
小组队形设计和改进(5分钟) 
队形跑位配合练习 
小组展示(10分钟) 

视频分析(5分钟) 

小组代表发言(5分钟) 
练习改进(5分钟) 
第二轮展示(6分钟) 
同一组前后两轮队形变化的对比分析 
|
音乐伴奏下引导学生从头、肩、胸、髋关节的依次运动。 让一个小组代表出列分享自己小组队形特点。 安排学生用花球摆队形,在图案的变化过程中选择合理的路线。 巡回指导 播放音乐,小组展示,每小组录制视频。 视频回放,安排小组代表出列分析讨论。 与上一节课进行组内对比分析,组间对比分析。 巡回指导,鼓励结束动作造型的创新。 第二轮展示,大屏幕录制。 同一组前后2个视频对比分析,找出自己动作的问题;引导学生讨论、探究解决问题的方法。 |
掌握热身运动的基本姿势,提升部位协调能力,提升音乐节奏感。 构图并讲解设计思路。 发挥个人和团队创新意识进行集体编排,结合跑位练习熟悉路线。 根据老师的提示,对队形和结束造型进行优化。 跟音乐小组配合跑位展示。 探究式思考,小组讨论,掌声相互鼓励。 发表看法和提出改进意见。同时说出自己小组的优点和不足。 对队形变化的不足之处和存在的问题有针对性的讨论并练习。 在原有的队形变化上增加了个别动作的方向变化,增加了难度和结束造型的变化。 认真听取教师对2次队形展示的评价。找出不足,及时改进。 |
活动四肢,感受音乐带来的肢体拉伸。 锻炼创新和解说分析能力。 提升学生自主学习能力和创造性思维。 锻炼创新意识、配合意识,团队协作能力。 学生从自我角度分析队形变化的不足,需要改进的地方 培养发现问题并解决问题的能力,提升审美意识。 提升自我解决问题的能力和审美能力。 充分发挥自主创新和团队协作能力。 通过大屏录制学生队形变化,并与第一遍对比分析,帮助学生直观地发现问题。 |
课内小结(3分钟) 
|
对各小组的进步提出表扬,讲解队形跑位配合的意义,团队协作能力在今后工作中的重要性。 |
对队形配合中体现的团队协作给与肯定,体会完胜成套展示后的获得感和快乐。 |
培养学生团队协作意识、体会个人责任感和获得感。 |












技巧啦啦操肩位托举教案

课题内容 |
技巧啦啦操肩位托举 |
授课时间 |
第14周 |
专业班级 |
大二 |
授课教材 |
啦啦操运动 |
课时 |
2 |
授课类型 |
新授课 |
学生数 |
30 |
教学理念 |
本课程以学习啦啦操基本手位、全国校园啦啦操大学组花球组合动作、技巧啦啦操基本技术为主,使学生初步掌握啦啦操技术动作、舞蹈编排原则以及比赛和表演的基本知识。基于体育美育融合发展的理念,以学生为中心,通过课堂教学、校内体育活动及竞赛、社会实践将课内外有效融合,培养学生的音乐素养和表现形体美、姿态美的能力,让学生体会啦啦操特有的团队精神,激发锻炼的热情。有效提升学生的体质健康水平和审美素养。 |
学情分析 |
教学对象 |
本科生 |
学生特点 |
啦啦操是一项时尚运动,符合新时代大学生求新、求美的心里特征。针对大二本科生已经有一年大学体育课的经历,因此对课程的创新性和挑战度有所要求,在学会一套舞蹈啦啦操基础组合动作后,需要学习技巧啦啦操的基本技术和托举中的安全保护。进一步培养学生的团队协作能力和责任意识。 |
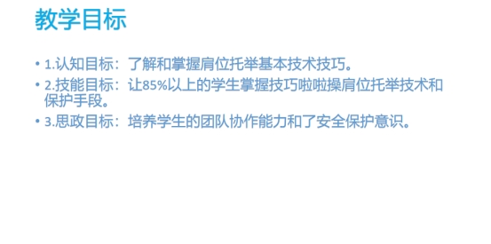
教学目标 |
1.认知目标:了解和掌握肩位托举基本技术技巧。 2.技能目标:让85%以上的学生掌握技巧啦啦操肩位托举技术和保护手段。 3.思政目标:培养学生的团队协作能力和了安全保护意识。 |
教学重点 |
1.双底座肩位托举的同步发力,手位高度的统一。 2.安全保护意识的培养。 |
教学难点 |
l托举中底座双手抓脚的位置高度不够 |
教学方法 |
教法 |
以学生为中心,运用分组练习、现场展示录视频、视频回放对比分析和评价 |
学法 |
课前线上自主学习、课内翻转分组练习,课后参加表演、比赛 |
教学过程 |
环节 |
教学程序的设计 |
教师活动 |
学生活动 |
设计意图 |
课 前 学 习 |
课前发送肩位托举视频教学二维码  
口令示范视频 音乐示范视频 |
向学生发送课前任务练习内容:扫码观看托举动作,自主练习托举数拍和空手动作。 |
利用手机接收任务并完成线上自学任务。 |
提升学生自主学习、探究式创新能力。 |
导 课 部 分 热 身 活 动 基 本 部 分 基 本 部 分
基 本 部 分 结 束 部 分 |
课前观看视频
播放导课
教学示范动作分析(5分钟)
|
播放视频,让学生观看双底座肩位托举的示范动作。 播放双底座肩位托举的技术动作示范视频,讲解技术完成过程中的重点和难点,安全保护提示。 |
观看视频,课前自主练习,对托举动作的配合进行小组讨论。 观看视频,小组讨论,规范技术动作,提升保护意识。 |
小组自觉性练习的培养。 对上一节课教学内容进行回顾。结合自身掌握程度进行稳步提升。 |
热身运动(5分钟) 互推练习 
小组抓脚练习 
小组跟音乐托举练习(5分钟) 
第一轮展示(5分钟) 
对比分析讨论(5分钟) 

练习改进(5分钟) 
第二轮展示(5分钟) 
同一小组2次展示同屏分析 (5分钟) 
“M”形金字塔配合练习 (5分钟) 
|
布置小组互推尖子、数拍抓脚练习,巡回指导。 组织1组3组练习,2组4组保护,每组2次然后交换保护。 1-4组按顺序跟音乐展示1遍肩位托举动作。播放音乐并录制视频。 对每一组展示视频进行回放,请小组代表出列对自己组动作的完成进行点评,教师做补充。 按照第一轮展示中出现的问题进行改进练习。 第二轮视频录制,提示大家展示前互相鼓励,互相提醒。尖子在肩位站立时要跟观众互动。 对同一组前后2次托举动作进行同屏对比分析,让学生进行评价,教师做补充。 肯定学生的动作配合的完成效果。 金字塔的配合练习意义就是体现大集体的团队协作能力。 1-3组搭建M金字塔,4组保护。 |
尖子绷紧互推练习、抓脚练习。 掌握热身运动的基本姿势,提升保护协作能力。 双底座和后点配合数拍抓脚练习3-5次。 注意力集中跟音乐节拍进行托举练习,明确自己的保护职责和站的保护位置。 一组托举一组保护,各司其职。跟音乐统一发力,统一抓脚高度。 观看每一组的托举展示视频,听取每一组代表的评价。同时可以提出自己的看法。 做动作之前,小组要明确问题所在,进行数拍练习。认真体会和观察自己动作和规范动作的不同之处。 相比第一次展示要更加有信心,配合更默契,成功率更高。 同一组前后对比分析、不同组组间对比分析评价,提出问题。 通过每一个小组的努力共同完成金字塔的搭建,都要集中注意力完成 |
养成托举上升过程中身体绷紧的习惯。 数拍抓脚练习,保证团队动作配合的稳定性和安全性。 结合音乐完成托举的配合能力练习。 保护意识和托举的发力配合意识。 培养发现问题、提出问题的探究式学习能力。 培养解决问题的能力。 巩固提升托举的完成质量。 从自我角度分析动作难点,加深对动作的认知。通过同屏分析帮助学生直观的发现问题。 体会每一个同学都是金字塔的一部分,共同努力才能成功完成。 |
课内小结(3分钟) 
|
对各小组的进步提出表扬,团队协作能力在今后工作中的重要性。引导学生总结金字塔成功完成后的体会。 |
回顾本次课练习肩位托举和金字塔的感受,总结优点和不足之处。 |
让学生感受到 技巧啦啦操运动中的团队协作精神和责任意识。 |


英国365上市公司 英国365上市公司
花球啦啦操队形创编教学视频 技巧啦啦操肩位托举教学视频


英国365上市公司 英国365上市公司
啦啦操基本手位套路5-6八拍教学视频 啦啦操基本手位套路7-8八拍教学视频

教
学
设
计
课程名称:花球啦啦操基本手位套路教学
教师姓名:汝铁林
联系电话:13359251661
所属单位:英国365上市公司英国上市官网365
花球啦啦操基本手位套路(5-6八拍)
教学设计
参赛信息:
课程名称:啦啦操 课程类型:公共体育课
教学对象:2017级本科生 教具准备:手机、多媒体电脑、投影仪
主讲教师:汝铁林 参赛学校:英国365上市公司
一、学情分析
本节课的教学对象为2017级本科生,通过一学年的啦啦操专项课学习,拥有一定的啦啦操基本技术和实践经验,有一定的运动水平,热爱啦啦操,生性活泼、好动,模仿力、掌握音乐的节奏能力强,学习积极性高、勇于竞争、自我表现力强。但啦啦操的基本功掌握的不够扎实,学习啦啦操组合套路过程中,在跳跃时空中的姿态控制、旋转的稳定性、手位的准确定位方面还有待提高。
二、教学目的:
1.认知目标:学习和掌握啦啦操的基本运动规律,从而了解花球啦啦操手位组合套路和音乐的结合,使学生能将已掌握的啦啦操技术和花球的使用共熔一炉,发展身体的柔韧性、灵活性、协调性和节奏感,提高动作的速度和连贯性,使学生熟练掌握花球啦啦操手位套路第5-6八拍衔接组合。
2.技能目标:通过本次课的学习,复习并掌握上一节课花球啦啦操手位套路1-4八拍组合动作,使学生能够基本掌握第5-6八拍组合动作,并能伴随音乐进行1-6八拍动作的连接练习,同时提高动作的速度和连贯性。
3.情感目标:培养并发挥学生的自主学习能力、自我展现能力、团队合作能力。
三、教学重点、难点及处理措施
根据教学目标及学生花球啦啦操技术水平情况,确定本课的重难点为:
重点:分腿小跳、L手位、单足旋转为本课的教学重点,主要通过学生示范讲解、教师启发总结、师生探讨、口诀讲解等手段使之得以突出。
难点:单足旋转的发力和平衡技术为本课的难点,本节课将通过合作探究、动作视频对比纠错等形式使之得以化解。
处理措施:
1.教师在教学环节中采用翻转课堂,学生能够更专注于技法学习和理解,让学生的课堂参与度更高;课堂示范法,练习过程中教师针对重点动作予以讲解纠正,在教学设计中采用视频录播等多媒体教学手段,使学生在练习过程中能够发现自己的缺点和不足,再借助理论分析得出具体操作方法,增加学生和教师互动和个性化沟通调动学生的积极性,学生反复练习体会,最后达到熟练掌握组合的目的。
2.教师通过个别辅导纠错,解决啦啦操手位组合动作的力度、跳跃、旋转、节奏变化和动作衔接,最后在在音乐气氛的烘托和教师的带领下,学生体会和发挥啦啦操舞蹈带来的激情。
四、教学媒体
在教学过程中引入多媒体回放系统,通过专业的运动分析软件Kinovea,将老师在练习过程中用手机录制的学生的技术动作与慕课中的标准示范动作进行同屏对比分析,帮助学生直观地发现自己技术动作的正确与错误,通过小组讨论和相互纠正,及时改正错误动作,极大的提高了学生的学习效率,降低了错误动作的重复出现频次。
五、教学创新点
采用翻转课堂教学方法,课前通过慕课平台向学生推送本节课的慕课教学内容,引导学生自主学习,并通过平台的交互模块,及时解决学生在慕课学习过程中遇到的各种问题,增进教师与学生沟通,同时也增进了学生之间的交流。
在课堂教学中,让学生了解啦啦操是一项有活力、有气氛、有团队精神的运动。通过课前自主结队练习、观看手机慕课平台和观看上节课动作视频回放引入课堂,激发学生学习兴趣,帮助学生形成学习动机,提高学生的兴奋性和积极性,同时检验学生课前慕课自学质量,培养学生求知欲望。
采用分组教学,组长负责和一对一纠错、分组展示,每组好差学生结合,由好带差,分组学习过程采用学生自主学习方法,突出以学生为中心的地位。组织协作学习,合作学习,开展讨论与交流,并对其过程进行引导;学生通过团队学习,积极承担并完成个人责任;相互支持与配合,进行促进性互动;实现有效沟通,建立维护相互信任,增强了学生的团队配合意识,让学生自我体会、自我感悟、自我评价,从而发现问题并解决问题,体验参与的乐趣和成功的喜悦。通过分组练习的讨论和相互纠正,及时改正错误动作,极大的提高了学生的学习效率,降低了错误动作的重复出现频次。
引入信息化教学技术,利用手机拍摄动作练习过程,输入电脑通过教室大屏幕同屏对比学生技术动作和标准动作,帮助学生形象直观的发现错误动作;通过学生展示视频实时回放对比课堂中录制的学生动作练习与慕课提供的标准动作进行时时对比分析,引导学生探究学习,通过学生自主发现问题,进行交流、实践、互相纠正等探索活动,获得知识、技能、情感与态度的发展,特别是探索精神和创新能力的发展。
采取视频录制回放现场评估和分组展示后学生自评、互评、教师评价相结合的方式进行学生课堂表现进行评定,改善以往课堂只有教师评价的模式。
本堂课中的教法与学法,充分贯彻“以学生为中心”的指导思想,教师做好组织者、引导者、参与者、服务者的角色。课堂上充分采用表扬、鼓励、赞赏的语言,挖掘学生潜力,发展其创造力,使学生练有所悟,悟有所创,从而养成终身体育锻炼的习惯。
六、教学内容及教学过程
(一)课前学习:推送慕课,进行课前预习、测评和作业。
1.预习:发送花球啦啦操手位套路第5-6八拍的慕课,帮助学生在课前建立运动表象;采用了任务驱动法,教师制定学生分组教学的任务,学生明确目标,预习效果更佳。
2.测评:设计测评题目,其目的一是作为课前预习的督促手段,二则是对学生知识点掌握情况的摸底,辅助学情分析,确定本节课重点、难点;
3.作业:发送作业要求,辅助学情分析。
(二)课堂常规
培养学生的组织纪律观念,让学生清楚本节课的目的与任务,建立体育课堂活动安全意识。
(三)准备部分
专项准备活动:有氧舞蹈热身
队形队列:

(四)基本部分
1、观看视频
队形队列:

(1)观看上节课动作视频,介绍花球啦啦操手位的发力技术。
(2)提问:上节课动作视频存在的问题有哪些?认识上节课动作所存在的问题,然后明确解决问题的关键点。
2、复习已学花球啦啦操手位套路第1-4八拍组合动作
教学要求:(1)动作的熟练性(2)动作技术的正确性
3、学习花球啦啦操手位套路第5-6八拍组合动作
(1)讲解示范


(队形1) (队形2)
A、讲解内容:第5-6八拍组合动作分解动作
B、示范:镜面示范和背面示范相结合
C、教学要求:掌握第5-6八拍组合动作的组成和准确位置
(2)组织练习
A、练习方法
口令指挥进行集体练习:慢拍口令练习、快拍口令练习
B、教学要求:
注意发力快、路线短、制动脆、定位准的技术,总结并指出学生出现的错误技术动作,强调重点,化解难点。
(3)分解-完整教学

上肢的学习 下肢的学习 完整配合
练习方法
●口令指挥进行上肢练习:慢拍口令、快拍口令各一遍。(队形一)
●口令指挥进行下肢练习
●口令指挥进行完整练习
●音乐指挥进行完整练习,加强对动作的记忆。
●学生进行分组练习,教师巡回纠正。(队形二)
4、观看大学生花球啦啦操比赛视频

●教学要求:建立高规格的发力技术的概念,形成自我判断的正确标准。
5、分组练习
(1)组织练习
●分组拍摄动作,进行自查。
●教师进行普遍问题进行强化
●分组展示和集体展示
●自评互评、教师总结性评价和阶段性评价相结合
(2)教学要求
●拍摄时用高标准要求自己完成动作
●观看本小组动作视频,发现存在的问题,并进行自我评价。
●在组长带领下进行练习,集体解决本组的问题。
●对于纠正的问题和强化的动作技术在进行集体展示时有所提高
(五)结束部分
集合整队,学生观看大屏幕,教师将所拍的本节课部分练习内容进行回放,对本堂课教学内容——花球啦啦操手位套路第5-6八拍组合动作进行总结与提炼,总结本课内容,举例点评学生技术动作学习掌握情况,充分肯定同学们的课堂表现。鼓励大家在今后的学习与生活中积极参与啦啦操项目,通过团队学习,积极承担并完成个人责任;相互支持与配合,进行促进性互动;实现有效沟通,建立维护相互信任,注重团队配合意识,增强自我体会、自我感悟、自我评价能力。

教
学
设
计
课程名称:花球啦啦操基本手位套路教学
教师姓名:汝铁林
联系电话:13359251661
所属单位:英国365上市公司英国上市官网365
花球啦啦操基本手位套路(7-8八拍)
教学设计
参赛信息:
课程名称:啦啦操 课程类型:公共体育课
教学对象:2017级本科生 教具准备:手机、多媒体电脑、投影仪
主讲教师:汝铁林 参赛学校:英国365上市公司
一、学情分析
本节课的教学对象为2017级本科生,通过一学年的啦啦操专项课学习,拥有一定的啦啦操基本技术和实践经验,有一定的运动水平,热爱啦啦操,生性活泼、好动,模仿力、掌握音乐的节奏能力强,学习积极性高、勇于竞争、自我表现力强。但啦啦操的基本功掌握的不够扎实,学习啦啦操组合套路过程中,在跳跃时空中的姿态控制、旋转的稳定性、手位的准确定位方面还有待提高。
二、教学目的:
1.认知目标:学习和掌握啦啦操的基本运动规律,从而了解花球啦啦操手位组合套路和音乐的结合,使学生能将已掌握的啦啦操技术和花球的使用共熔一炉,发展身体的柔韧性、灵活性、协调性和节奏感,提高动作的速度和连贯性,使学生熟练掌握花球啦啦操手位套路第7-8八拍动作组合。
2.技能目标:通过本次课的学习,复习并掌握上一节课花球啦啦操手位套路5-6八拍组合动作,使学生能够基本掌握第5-6八拍组合动作,并能伴随音乐进行1-8八拍动作的连接练习,同时提高动作的速度和连贯性。
3.情感目标:培养并发挥学生的自主学习能力、自我展现能力、团队合作能力。
三、教学重点、难点及处理措施
根据教学目标及学生花球啦啦操技术水平情况,确定本课的重难点为:
重点:单足旋转、SIDE K手位、侧踢腿为本课的教学重点,主要通过学生示范讲解、教师启发总结、师生探讨、口诀讲解等手段使之得以突出。
难点:SIDE K手位、侧踢腿为本课的难点,本节课将通过合作探究、动作视频对比纠错等形式使之得以化解。
处理措施:
1.教师在教学环节中采用翻转课堂,学生能够更专注于技法学习和理解,让学生的课堂参与度更高;课堂示范法,练习过程中教师针对重点动作予以讲解纠正,在教学设计中采用视频录播等多媒体教学手段,使学生在练习过程中能够发现自己的缺点和不足,再借助理论分析得出具体操作方法,增加学生和教师互动和个性化沟通调动学生的积极性,学生反复练习体会,最后达到熟练掌握组合的目的。
2.教师通过个别辅导纠错,解决啦啦操手位组合动作的力度、跳跃、旋转、节奏变化和动作衔接,最后在在音乐气氛的烘托和教师的带领下,学生体会和发挥啦啦操舞蹈带来的激情。
四、教学媒体
在教学过程中引入多媒体回放系统,通过专业的运动分析软件Kinovea,将老师在练习过程中用手机录制的学生的技术动作与慕课中的标准示范动作进行同屏对比分析,帮助学生直观地发现自己技术动作的正确与错误,通过小组讨论和相互纠正,及时改正错误动作,极大的提高了学生的学习效率,降低了错误动作的重复出现频次。
五、教学创新点
1.采用翻转课堂教学方法,课前通过慕课平台向学生推送本节课的慕课教学内容,引导学生自主学习,并通过平台的交互模块,及时解决学生在慕课学习过程中遇到的各种问题,增进教师与学生沟通,同时也增进了学生之间的交流。
2.在课堂教学中,让学生了解啦啦操是一项有活力、有气氛、有团队精神的运动。通过课前自主结队练习、观看手机慕课平台和观看上节课动作视频回放引入课堂,激发学生学习兴趣,帮助学生形成学习动机,提高学生的兴奋性和积极性,同时检验学生课前慕课自学质量,培养学生求知欲望。
3.采用分组教学,组长负责和一对一纠错、分组展示,每组好差学生结合,由好带差,分组学习过程采用学生自主学习方法,突出以学生为中心的地位。组织协作学习,合作学习,开展讨论与交流,并对其过程进行引导;学生通过团队学习,积极承担并完成个人责任;相互支持与配合,进行促进性互动;实现有效沟通,建立维护相互信任,增强了学生的团队配合意识,让学生自我体会、自我感悟、自我评价,从而发现问题并解决问题,体验参与的乐趣和成功的喜悦。通过分组练习的讨论和相互纠正,及时改正错误动作,极大的提高了学生的学习效率,降低了错误动作的重复出现频次。
4.引入信息化教学技术,利用手机拍摄动作练习过程,输入电脑通过教室大屏幕同屏对比学生技术动作和标准动作,帮助学生形象直观的发现错误动作;通过学生展示视频实时回放对比课堂中录制的学生动作练习与慕课提供的标准动作进行时时对比分析,引导学生探究学习,通过学生自主发现问题,进行交流、实践、互相纠正等探索活动,获得知识、技能、情感与态度的发展,特别是探索精神和创新能力的发展。
5.采取视频录制回放现场评估和分组展示后学生自评、互评、教师评价相结合的方式进行学生课堂表现进行评定,改善以往课堂只有教师评价的模式。
本堂课中的教法与学法,充分贯彻“以学生为中心”的指导思想,教师做好组织者、引导者、参与者、服务者的角色。课堂上充分采用表扬、鼓励、赞赏的语言,挖掘学生潜力,发展其创造力,使学生练有所悟,悟有所创,从而养成终身体育锻炼的习惯。
六、教学内容及教学过程
(一)课前学习:推送慕课,进行课前预习、测评和作业。
1.预习:发送花球啦啦操手位套路第7-8八拍的慕课,帮助学生在课前建立运动表象;采用了任务驱动法,教师制定学生分组教学的任务,学生明确目标,预习效果更佳。
2.测评:设计测评题目,其目的一是作为课前预习的督促手段,二则是对学生知识点掌握情况的摸底,辅助学情分析,确定本节课重点、难点;
3.作业:发送作业要求,辅助学情分析。
(二)课堂常规
培养学生的组织纪律观念,让学生清楚本节课的目的与任务,建立体育课堂活动安全意识。
(三)准备部分
专项准备活动:有氧舞蹈热身
队形队列:

(四)基本部分
1、观看视频
队形队列:

(1)观看上节课动作视频,介绍花球啦啦操手位的发力技术。
(2)提问:上节课动作视频存在的问题有哪些?认识上节课动作所存在的问题,然后明确解决问题的关键点。
2、复习已学花球啦啦操手位套路第1-6八拍组合动作
教学要求:(1)动作的熟练性(2)动作技术的正确性
3、学习花球啦啦操手位套路第7-8八拍组合动作
(1)讲解示范


(队形1) (队形2)
A、讲解内容:第7-8八拍组合动作分解动作
B、示范:镜面示范和背面示范相结合
C、教学要求:掌握第7-8八拍组合动作的组成和准确位置
(2)组织练习
A、练习方法
口令指挥进行集体练习:慢拍口令练习、快拍口令练习
B、教学要求:
注意发力快、路线短、制动脆、定位准的技术,总结并指出学生出现的错误技术动作,强调重点,化解难点。
(3)分解-完整教学

上肢的学习 下肢的学习 完整配合
练习方法
●口令指挥进行上肢练习:慢拍口令、快拍口令各一遍。(队形1)
●口令指挥进行下肢练习
●口令指挥进行完整练习
●音乐指挥进行完整练习,加强对动作的记忆。
●学生进行分组练习,教师巡回纠正。(队形2)
4、观看大学生花球啦啦操比赛视频

●教学要求:建立高规格的发力技术的概念,形成自我判断的正确标准。
5、分组练习
(1)组织练习
●分组拍摄动作,进行自查。
●教师进行普遍问题进行强化
●分组展示和集体展示
●自评互评、教师总结性评价和阶段性评价相结合
(2)教学要求
●拍摄时用高标准要求自己完成动作
●观看本小组动作视频,发现存在的问题,并进行自我评价。
●在组长带领下进行练习,集体解决本组的问题。
●对于纠正的问题和强化的动作技术在进行集体展示时有所提高
(五)结束部分
集合整队,学生观看大屏幕,教师将所拍的本节课部分练习内容进行回放,对本堂课教学内容——花球啦啦操手位套路第1-8八拍组合动作进行总结与提炼,总结本课内容,举例点评学生技术动作学习掌握情况,充分肯定同学们的课堂表现。鼓励大家在今后的学习与生活中积极参与啦啦操项目,通过团队学习,积极承担并完成个人责任;相互支持与配合,进行促进性互动;实现有效沟通,建立维护相互信任,注重团队配合意识,增强自我体会、自我感悟、自我评价能力。
疫情期间啦啦操线上教学的“三步曲”
英国上市官网365 汝铁林
第一步:设计教案
准备一节体育课线上教学内容,是一件不容易的事情,既需要理论又需要实践,因此PPT和视频制作必不可少;课程时间安排要合理紧凑,包括准备部分、开始部分、基本部分和结束部分。
课的内容 |
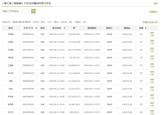
1.第五周优秀手位及素质作业赏析 2.啦啦操25-32手位分解示范讲解及练习 3.运动与营养知识学习与讨论 4.课内身体素质练习 5.抗疫宣传片《非常时期那些走心的凡人金句》 |
课的任务 |
1.使学生了解第五周作业中出现的问题和优秀作业赏析 2.学习25-32手位,进一步掌握啦啦操手位发力技术 3.使学生初步了解运动与营养理论知识 4.疫情期间居家锻炼,运动战“疫”,提高身体素质 5.抗疫宣传片观看,培养学生爱国主义精神 |
时间 |
课的内容 |
学习的具体内容与教法 |
5´
75´
|
一、课前准备
二、学习通签到 (第1次)
三、理论讲解
|
提前10分钟进入学习通课程和班级QQ群设定好群课堂模式,准备好课件,QQ群课堂里与学生互相问好。 组织方法:通过QQ群课堂在线语音模式结合学习通平台课程指导学生。 安排学习通平台签到(普通签到,设置10分钟时限) 1.第五周作业出现的问题和优秀作业赏析(视频) 2.啦啦操25-32手位分解示范图(PPT) 3.啦啦操25-32手位分解示范(视频) 4.运动与营养(视频) 第二方案: 如果学习通平台网络堵塞或卡顿,QQ群文件同步上传文件提供相应的教学内容供学生下载学习。 组织方法:通过QQ群课堂的语音在线讲解,组织学生听课。 |
班级啦啦操班人数42日期3.30-4.3周次6 授课教师:汝铁林
结构 |
时间 |
课的内容 |
学习的具体内容与教法 |
基
本
部
分
结
束
部
分 |
75´
10´ |
四、讨论
五、课内素质练习
六、第2次签到、布置课后作业 |
1.学习通讨论区提出问题,学生回答。 2.QQ群课堂点名学生回答,并进行交流讨论。 3.问题1:练习啦啦操手位时应注意什么?(点名) 4.问题2:请简单表述啦啦操25-32个手位。 5.问题3:人体所需的七大营养素分别是什么? 6.问题4:运动前禁忌吃什么成分的食物? 7.问题5:运动中补水的原则是什么? 组织方法: 1.指定部分学生练习后将图片或视频通过QQ小窗口发给教师 2.如果有学生感觉运动量有些大,可延长间歇时间或少做一组 3. 内容及要求: (1)俯卧撑(男)、跪撑(女)10个2组(组间间歇30秒)--休息1分钟; (2)开合跳20次2组(间歇30秒)--休息1分钟; (3)平板支撑1分钟2组(间歇30秒)--休息1分钟; (4)俯撑后举腿10次2组(间歇30秒)--休息1分钟; (5)俯撑手脚对侧上举8次2组(间歇30秒)--休息1分钟; (6)熊爬8次2组(间歇30秒)。 1.学习通第2次签到(10分钟时限) 2.播放疫情防控先进事迹宣传片《非常时期那些走心的凡人金句》 (来源:学习强国) 3.学习通课程作业(100分): (1)上传啦啦操25-32手位练习视频(50%) (2)上传班级QQ群运动排行2次3000步以上截图(20%),身体素质练习图片或视频(30%)。 |
课后小结 |
1.42名学生全部按时上下课,到课率100%; 2.学生回答问题积极,课堂素质练习视频认真规范; 3.第5周作业完成质量比较好,提交率95.2%,优秀率14.3%,合格率83.3%;2名学生未按时提交作业,1名学生作业内容缺少啦啦操1-24手位练习视频。 |
第二步:导演课堂
一、课前准备部分
提前10分钟进入学习通课程和班级QQ群设定好群课堂模式,准备一份好打印好的教案,这样心里比较踏实。QQ群课堂里播放一首欢快的音乐,等待学生陆续进入课堂。
二、开始部分
1.师生问好;
2.安排学习通平台签到(设置10分钟时限)
三、基本部分
1.总结上一周作业批阅中出现的问题和优秀作业赏析(视频);
(1)啦啦操32手位优秀视频作业赏析
批阅作业时将学生提交在学习通平台的优秀视频作业下载,编好班级姓名,将小视频利用软件编辑排序制作成视频课件,在课堂上分享并对技术动作进行点评。建议在使用视频前需要与学生本人沟通,经同意方可编辑使用。


(2)优秀素质作业视频及图片赏析
素质作业分为身体力量练习、有氧练习和班级QQ群运动排行,每周最少2次3000步以上排行记录。
啦啦操班优秀素质作业视频:


啦啦操班优秀素质作业图片赏析(PPT):





啦操手位练习
(1)25-32手位示范图讲解
要求:学生按照练习要求跟随教师讲解按照图示进行同步模仿练习。


(2)25-32手位视频示范同步练习(10分钟)
要求:学生面对视频按照示范动作同步练习(重复3-5遍)


运动与营养知识讲座(视频)

答疑讨论

课内素质练习视频同步示范指导(20分钟):

观看疫情防控先进事迹宣传片,培养爱国主义精神。

第三步:课后作业
体育课线上教学课后作业是反映学生线上学习和课后练习效果的主要途径,好的作业是对线上教学最好的反馈之一,学生完成的好,老师也很欣慰!





















课题内容 |
气排球特色接球技术——搬挡球 |
授课时间 |
第四周 |
专业班级 |
大一 |
授课教材 |
气排球实用教程 |
课时 |
2 |
授课类型 |
新授课 |
学生数 |
30 |
教学理念 |
搬挡球是气排球特色接球手法之一,比赛中多用于接较重来球。课程采用线上线下混合式教学模式,基于“比赛贯穿去课程”教学理念,利用信息技术使学生将内容与实际比赛相结合,创设情境引出新知,通过进阶式任务和设计教学比赛帮助学生自主练习,从而达到了技术习得,比赛素养形成,体育道德教育实现的目的,充分体现了“以赛促学、以赛促练、赛练结合”的教学理念。 |
学情分析 |
教学对象 |
本科生 |
学生特点 |
本节课的教学对象为大一的学生,90%的同学没有排球基础,但有一定的运动基础,热爱排球,生性活泼、好动,模仿力、好奇心强,学习积极性高、勇于竞争、自我表现欲强。 |
教学目标 |
1、认知目标:了解气排球各种特色接球技术,提高学生气排球学习的兴趣。 2、技能目标:帮助85%的学生基本掌握气排球搬挡球技术,20%的学生熟练掌握气排球搬挡球技术,同时发展手部灵活性、反应灵敏性、上下肢协调性等身体素质。 3、思政目标:发挥学生的创新能力,培养顽强拼搏、永不言弃的女排精神。 |
教学重点 |
搬挡球的正确手型、击球点、击球部位为本课的教学重点,通过学生示范讲解、大屏动作分析软件、教师启发总结、师生探讨、口诀讲解等手段使之得以突出。 |
教学难点 |
l全身协调发力为本课的难点,通过徒手练习、合作探究、动作视频对比纠错等形式使之得以化解。 |
教学方法 |
教法 |
坚持“以学生为主体,教师为主导”的基本原则,采用情境教学法、启发式教学法、比赛游戏教学法。 |
学法 |
采用自主学习、合作探究的学习方式,使学生将知识与实际比赛相联系,赛中学、赛中练。 |
教学过程 |
环节 |
教学程序的设计 |
教师活动 |
学生活动 |
设计意图 |
课 前 学 习 |
教学平台发布课前任务: 发送气排球特有接球技术的慕课。 |
向学生发送课前任务单。 ①慕课自学; ②团队提交练习视频; ③线上互评视频作业。 |
①利用手机平台接收任务并完成线上自学任务。 ②小组线上讨论,并拍摄练习视频上传。 ③线上互评 |
①帮助学生在课前建立运动表象; ②团队协作 ③互评加深对动作的分析。 |
导 课 部 分 热 身 活 动 基 本 部 分 基 本 部 分 基 本 部 分 结 束 部 分 |
创设情境分析视频(3分钟) 播放导课视频,引导学生分析接球的重要性。 
|
播放视频,让学生观看,引导学生分析: ①接球在比赛中的重要应用; ②中国女排在比赛过程中体现出来的女排精神。 |
观看视频,积极分析并回答接球的重要作用。 分析中国女排在比赛中女排精神的体现。 |
通过中国女排精彩的接球视频,激发了学生学习的兴趣,引导学生自主分析问题,沉浸式地学习中国女排精神。 |
抛球比赛合作探究(5分钟) “三球不归一”游戏 通过游戏复习上节课内容,尝试运用课前学习的接球手法。 
翻转教学学生示范讲解 (5分钟) 
学生从自己角度讲解示范。
学生带领徒手练习(3分钟) 徒手练习可以帮助学生重点体会动作的发力,化解难点。
一传一接体会控球 同屏对比自主探究(10分钟)  
“贪吃蛇”变方向搬挡球
(5分钟)  
“接球投篮”提高准确 (10分钟) 
|
①介绍游戏规则; ②引导学生分组; ③裁判并计分; ④比赛时提示学生做好准备姿势及时移动取位。 ①引导学生讨论并选出课前练习最好的同学; ②鼓励学生对课前自学进行展示,并肯定学生的练习成果 ③引导学生进行补充; ④补充学生遗漏。 ①肯定学生的组织练习方式和动作; ②提示学生体会自下而上的发力; ①引导学生讨论如何有球练习; ②巡回指导; ③利用大屏录制学生练习; ④引导学生通过大屏对比分析,找出自己动作的问题; ⑤引导学生讨论探究解决错误动作的方法。 ①介绍游戏规则; ②引导学生分组; ③组织学生参与游戏; ④提示学生体会变方向搬挡球的要领; ⑤在游戏中穿插身体素质练习。 ①介绍游戏规则; ②引导学生分组; ③组织学生参与游戏; ④提示抛球同学将球跑到位; ⑤提示接球同学及时判断取位,控制出球力度。 |
①讨论游戏玩法并自主分组; ②团队配合完成游戏任务; ③积极总结比赛过程中接球手法的运用。 ①积极讨论并推选同学; ②认真聆听同学讲解示范,并跟随练习; ③补充同学讲解示范的不足。 ①跟随领做同学口令认真练习。 ②发现问题及时提出,相互讨论解决。 ①积极思考,讨论; ②认真练习,体会如何接好同伴的抛球; ③认真观察自己动作与标准动作的不同之处; ④团队协作,探究错误动作解决方法。 ①聆听并理解规则; ②体会向侧面搬挡球; ③快速移动取位。 ①聆听并理解规则; ②团队协作; ③及时判断来球,移动取位; ④控制球的力度,提高搬挡球的弧度和高度。 |
①复习上节课学习的准备姿势和移动步法; ②提升学生学习的兴趣; ③帮助学生体验接球的重要性; ④培养学生规则意识、团结协作、顽强拼搏精神。 ①以学生为中心,引领学生大胆尝试; ②学生从自我角度分析动作难点,加深对动作的认知。 学生根据线上学习和自己课前练习体会,积极思考,从学生角度出发,自行组织练习活动,提升学生自主学习能力和创造性思维。 ①传抛球练习开始过渡到有球练习,同时又降低了初学接球的难度; ②通过大屏录制学生练习动作,并在动作分析软件中同屏对比标准动作,帮助学生直观地发现问题。 ①将枯燥的技术练习游戏化; ②锻炼学生向侧面搬挡球的能力; ③增强学生团队协作能力。 改编大家常见的篮球投篮,练习学生搬挡球的准确性,向比赛需求靠拢,同时增强了学生团队凝聚力。 |
重温经典女排精神 (3分钟) 
|
①播放2016年中国女排里约奥运会夺冠精彩视频。 ②引导学生总结搬挡球的要领。 ③引导学生总结女排精神的内涵。 ④布置课后练习,团队提交两人搬挡球练习视频,并在下次课前完成线上互评。 |
①认真观看,并讨论接球的要领。 ②欣赏中国女排的精彩攻防。 ③总结女排精神在排球及日常生活、学习中的重要作用。 |
以中国女排经典比赛结束课程,即让学生再次感受到了接球的重要性,又让女排精神潜移默化地深入人心。 |
气排球特有垫球技术教学设计

课程名称:气排球 课程类型:公共体育课
教学对象:有硬排基础的同学教具准备:手机、多媒体电脑、投影仪
主讲教师:林海强 参赛学校:英国365上市公司

本节课的教学对象为选修过硬排的学生,拥有一定的排球理论基础和实践经验,有一定的运动水平,热爱排球,生性活泼、好动,模仿力、好奇心强,学习积极性高、勇于竞争、自我表现欲强。但硬排的基本功掌握的不够扎实,在学习气排球不同垫球技术时技术动作易变形出现错误。

1、认知目标:了解气排球特有的各种垫球技术,提高学生学习气排球的兴趣。
2、技能目标:85%的学生基本掌握气排球特有的各种垫球技术,20%的学生熟练掌握气排球特有的各种垫球技术,同时发展手部灵活性、反应灵敏性、上下肢协调性等身体素质。
3、情感目标:培养并发挥学生的自主学习能力、团队合作能力、创新能力,以及克服困难、拼搏进取的优良品质。

根据教学目标及学生排球技术水平情况,确定本课的重难点为:
重点:各种垫球技术的正确手型、击球点、击球部位为本课的教学重点,主要通过学生示范讲解、教师启发总结、师生探讨、口诀讲解等手段使之得以突出。
难点:全身协调发力为本课的难点,本节课将通过合作探究、动作视频对比纠错等形式使之得以化解。

在教学过程中引入多媒体回放系统,通过专业的运动分析软件Kinovea,将老师在练习过程中用手机录制的学生的技术动作与慕课中的标准示范动作进行同屏对比分析,帮助学生直观地发现自己技术动作的正确与错误,通过小组讨论和相互纠正,及时改正错误动作,极大的提高了学生的学习效率,降低了错误动作的重复出现频次。

本次课是一节运动参与型的课,也是技能学习和探究学习型的课。
6.采用翻转课堂教学方法,课前通过慕课平台向学生推送本节课的慕课教学内容,引导学生自主学习,并通过平台的交互模块,及时解决学生在慕课学习过程中遇到的各种问题,增进教师与学生沟通,同时也增进了学生之间的交流。

图1 本节课采用翻转课堂教学模式
7.在课堂教学中,让学生了解气排球是一项适合不同年龄、不同性别、不同体质和训练程度的人的运动。通过游戏引入课堂,创设特定情境以激活学生的问题意识,形成基于问题的学习任务;使问题与学生原有认识结构中的经验发生联系,激活新知识。激发学生学习兴趣,帮助学生形成学习动机,提高学生的兴奋性和积极性,同时检验学生课前慕课自学质量,培养学生求知欲望。
8.采用分组教学,组织协作学习,合作学习,开展讨论与交流,并对其过程进行引导;启发和诱导学生自己去发现气排球垫球的方法和规律。学生通过团队学习,积极承担并完成个人责任;相互支持与配合,进行促进性互动;实现有效沟通,建立维护相互信任,增强了学生的团队配合意识,让学生自我体会、自我感悟、自我评价,从而发现问题并解决问题,体验参与的乐趣和成功的喜悦。
9.在传统体育课堂中引入信息化教学技术,通过运动分析软件对比课堂中录制的学生动作练习与慕课提供的标准动作进行时时对比分析,引导学生探究学习,通过学生自主发现问题,进行交流、实践、互相纠正等探索活动,获得知识、技能、情感与态度的发展,特别是探索精神和创新能力的发展。
10.改良教学评价方式,采取慕课在线评估和课堂学生自评、互评、教师评价相结合的方式进行学生课堂表现进行评定。
本堂课中的教法与学法,充分贯彻“以学生为中心”的指导思想,教师做好组织者、引导者、参与者、服务者的角色。课堂上充分采用表扬、鼓励、赞赏的语言,挖掘学生潜力,发展其创造力,使学生练有所悟,悟有所创,从而养成终身体育锻炼的习惯。

(一)课前学习:推送慕课,进行课前预习、测评和作业。
1.预习:发送气排球特有垫球技术的慕课,帮助学生在课前建立运动表象;采用了任务驱动法,教师制定学生分组教学的任务,学生明确目标,预习效果更佳。
2.测评:设计测评题目,其目的一是作为课前预习的督促手段,二则是对学生知识点掌握情况的摸底,辅助学情分析,确定本节课重点、难点;
3.作业:发送作业要求,辅助学情分析。

图2本节课教学过程及运用的教法学法
(二)课堂常规
培养学生的组织纪律观念,让学生清楚本节课的目的与任务,建立体育课堂活动安全意识。
(三)准备部分
1.专项准备活动:结合球的行进间热身练习
变常规的原地徒手操为结合球的行进间热身练习,融入排球专项所需要的柔韧、灵敏、速度以及移动脚步练习,结合球后增强学生的球感,并在抛接球过程中要求学生在不同的位置接球,可以帮助学生在后续各种垫球练习时更容易找准击球点,通过专项准备活动即起到了热身目的,同时又能提高专项身体素质。
游戏引入:“球不落地”
将学生按照水平分组,以排球场两米线、端线、中线为比赛场区,学生纵队在场区内依次将球接住并抛向对方场地。特殊规则:接球后不能移动、允许将球接住;球未接住或出界,对方得一分,每局11分,三局两胜。
①通过创设比赛情境,使学生建立排球比赛过程中,球不能落在本方场地,并尽量让球落在对方场地的基本排球比赛概念;②通过游戏引入,提高学生的兴奋性、团队协作、团队交流能力;③帮助学生提高在移动中找球的能力,为本节课各种垫球技术学习做铺垫。
(四)基本部分
1.学生分组讲解示范
(1)教师回顾课前预习,点评作业完成情况;
(2)学生分组讲解并示范。
按照课前慕课要求,学生自由分组结合,按照本节课教学内容分成5个组,并由各小组一一向大家讲解示范自己小组的授课内容。
教师认真聆听学生讲解、观察动作示范,鼓励并认可学生的讲解示范的正确部分,同时总结并指出学生出现的错误技术动作,强调重点,化解难点。
2.分组练习
学生通过认真聆听学生小组和教师讲解、观察动作示范,模仿练习,体会各种垫球技术的基本要领,学生练习过程中进行互评互纠;教师巡回指导、纠错并利用手机拍摄练习视频,上传到多媒体大屏,组织学生通过专业运动分析软件对学生练习的技术动作和慕课中标准动作进行对比分析,鼓励学生沟通交流,学生自己对技术动作进行自评,找出优势和出现错误动作的原因和纠正的方法。利用信息化工具的及时性、直观性更好的服务于教学。
学生经过几个环节的练习,各种垫球技术得以巩固、提高,最后选出优秀小组进行展示,学生自己评选本节课的垫球之星,让大家在观摩中找差距。
(五)结束部分
在结束放松环节,学生边进行拉伸放松练习,边观看大屏幕,教师将所拍的本节课部分练习内容进行回放,对本堂课教学内容——气排球特有垫球技术的要领进行总结与提炼,总结本课内容,举例点评学生技术动作学习掌握情况,评价本课;充分肯定同学们的课堂表现,鼓励大家在今后的学习与生活中积极参与排球活动,培养团队协作意识。课后布置学生,通过网络、书籍等工具为下一次课提供更好学习和交流平台。






























.
